晶振是石英晶体谐振器(quartzcrystal oscillator)的简称,它被称为电路系统的心脏,它为整个系统提供“心跳”。中央处理器(CPU)一切指令的执行都是建立在这个“心跳”上的,这个心跳就是CPU执行指令所必须的时钟频率信号,一般来说时钟信号频率越高,CPU的运行速度也就越快。只要是包含CPU的电子产品,都至少包含一个时钟源,有些在外面看不到晶振或者振荡电路,是因为在芯片内部被集成了。
1、晶振分类
1.1、无源晶振
无源晶振(晶体谐振器)工作原理:在石英水晶片的两边镀上电极,在两电极上加一定的电压,利用石英的压电效应特性使其产生形变,从而给IC提供一个正弦波形,通过IC的内部整形和PLL电路后产生方波,然后输入给下级电路。
1.2、有源晶振
有源晶振一般4个脚,一个电源,一个接地,一个信号输出端,一个NC(空脚)。
有源晶振根据封装不同,管脚排列不同(打点的为1脚,逆时针看)有个点标记的为1脚,按逆时针(管脚向下)分别为2、3、4。
有源晶振通常的用法:一脚悬空,二脚接地,三脚接输出,四脚接电压。
方形有源晶振引脚分布:
1.3、晶振参数
标称频率:晶振输出信号的频率被称为标称频率(NormalFrequency),晶振的常用频率范围1~200MHZ之间,常用的有32768Hz、8MHz、12MHz、24MHz、125MHz。我们看到其他的电子产品的GHZ级别的,一般是由PLL(锁相环)倍频得到的。
频率稳定度:晶振输出频率的稳定度被称为频率稳定度(FrequencyStability),用单位ppm来表示,即百万分之一(partspermillion)(1/106),是相对标称频率的变化量,此值越小表示精度越高。例如我们使用的25MHZ晶振,假设晶振偏差为±10ppm,表示它的频率偏差为25×10Hz=±250Hz,即频率范围是(24999750~25000250Hz)
温度频差:晶振在特定温度范围内,工作频率相对于基准温度时工作频率的允许偏离被称为温度频差(Frequency Stability vs Temp)表示,它的单位也是ppm。
负载电容:电路中跨接晶振两端的总的外界有效电容被称为负载电容(Load Capacitance)。负载电容是晶振的工作条件,即电路设计时要满足负载电容等于或接近晶振数据手册给出的数值才能使晶振按预期工作。
2、常用晶振
2.1、3225贴片晶振
下面介绍的是NDK公司的NX3225SA晶振。
3225贴片晶振是无源晶振。也有有源晶振,但是我们常用的是无源晶振。
以下说的是无源晶振:
Load Capacitance 负载电容
根据经验,个人建议配18PF电容。
2脚和4脚和屏蔽罩相连,接GND
无源晶振底面视图:底面视图中箭头指的焊盘和对角的焊盘是连通的,和晶振的盖子也是连通的,在线路板上使有时接地和不接地都没有关系。这两个焊盘的主要作用是在贴片时更好的把晶振固定在线路板上。也就说2和4是相连的,因为外形是长方形的,所以焊接时不用注意方向。
贴片晶振有一个脚位有一点缺口,是的,从这个缺口开始,顺时针数,就可以清楚的分辨出脚1、脚2、脚3、脚4;
2.2、MC-146/MC156
无源晶振,用于RTC时钟晶振,32.768KHZ
负载电容采用9到15PF的都行。
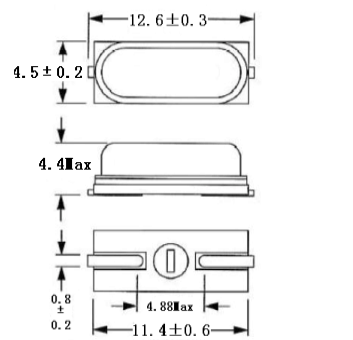
2.3、HC-49系列
首先HC-49S、HC-49U、HC-49SMD都是石英晶振的封装类别,无源晶振系列,是现在石英晶振使用较广的几个产品,因其造价成本较低且精度稳定度等符合民用电子设备,所以受到工厂的喜欢。水晶材质(二氧化硅)的芯片材料的压电特性能将电能与机械能相互转换,产生稳定的频率。
HC-49S(12mhz)属于直插式石英晶振封装,直插2脚,高壳体积为10.5*4.5*3.5mm矮壳体积10.5*5*.0*2.5mm属国际通用标准,普通参数标准负载电容为20PF(12PF、16PF、30PF等)精度为±20PPM、±50ppm等电阻120Ω,参数标准方面跟HC-49U、HC-49SMD无差别。
HC-49U,也是直插式2脚晶振,体积为11*4.5*13.4mm,功能应用跟HC-49S几乎无差别,因体积比49S大,造成电路板空间的浪费且造价成本较高现在已经渐渐被HC-49S封装所代替。注意一点的是HC-49U跟HC-49US是不同的,HC-49US指的是HC-49S而不是HC-49U。
HC-49SMD,俗称“假贴片”,这个是贴片式2脚晶振,除了引脚,其他参数跟HC-49S一样,体积10.5*4.5*3.5mm,确切的说HC-49SMD是通过将HC-49S压扁脚-套上垫片-剪脚压紧-编带等生产工序加工而来,因材料以及加工成本的增加所以会比HC-49S造价要贵,常用频点有8MHZ、12MHZ、11.0592M HZ、13.560MHZ等。
点击查看本文所在的专辑,STM32F207教程


